Sterowanie silnikiem prądu stałego

Nasza ocena:

5
Pobrań: 35
Wyświetleń: 798
Komentarze: 0
Notatek.pl

Pobierz ten dokument za darmo

Podgląd dokumentu
Sterowanie silnikiem prądu stałego - strona 1 Sterowanie silnikiem prądu stałego - strona 2 Sterowanie silnikiem prądu stałego - strona 3

Fragment notatki:

Sterowanie silnikiem
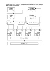
prądu stałego Organizacja układu scalonego 8255. Układ scalony 8255 jest elementem o dużym stopniu integracji. Ma on bardzo ważną cechę niespotykaną w wielu elementach typu 82xx - programowalność. Programowalność układu scalonego 8255 oznacza, że jego przeznaczenie w pewnym zakresie może być określone przez konstruktora na drodze wprowadzania do rejestru sterującego elementu 8255 odpowiedniego słowa sterującego. Rozwiązanie takie daje korzyści wynikające z dopasowaniem elementu do potrzeb konkretnych użytkowników.
Układ scalony 8255 ma od strony elementów zewnętrznych 24 końcówki wejścia-wyjścia, przyporządkowane trzem 8-bitowym bramom oznaczonym literami A, B, C. Brama C jest podzielona na część bardziej znaczącą, przyporządkowaną grupie A, w której znajduje się również brama A, oraz część mniej znaczącą, przyporządkowaną grupie B, w której znajduje się również brama B. Każda z wymienionych bram może mieć różne właściwości . Zmiany właściwości dokonuje się za pomocą programowania, tzn. na drodze wprowadzenia odpowiedniego słowa sterującego do rejestru sterującego. Od strony mikroprocesora układ scalony 8255 ma 8 końcówek dwukierunkowej, buforowanej, trójstanowej magistrali danych. Wymiana danych między mikroprocesorem a wymienionym buforem odbywa się albo na drodze realizacji rozkazów wejścia-wyjścia IN lub OUT , albo na drodze realizacji czytania pamięci i pisania do pamięci. Wówczas przyporządkowuje się elementowi 8255 cztery komórki przestrzeni adresowej: trzy dla bram A, B, C, czwartą dla rejestru sterującego.
Budowa i właściwości przetworników cyfrowo-analogowych .
Przetwornik cyfrowo-analogowy umożliwia zamianę wielkości cyfrowych (liczb) na odpowiadające im wielkości analogowe (wartości napięcia). Przetwarzana liczba podana w kodzie dwójkowym jest wpisywana do rejestru, którego każda pozycja steruje jednym z kluczy K 1 ... K n . Wpisanie jedynki do komórki rejestru powoduje zamknięcie odpowiadającego jej klucza. Wypadkowa wartość rezystancji wejściowej wzmacniacza odpowiada kombinacji zer i jedynek wpisanych do rejestru. Przy określonej, stałej wartości napięcia odniesienia napięcie wyjściowe wzmacniacz odpowiada więc liczbie wpisanej do rejestru. Bit znaku przetwarzanej liczby określa polaryzację napięcia wyjściowego. Możliwe do uzyskania dokładności przetwarzania są większe niż wymagana dokładność urządzeń wyjściowych, a uzyskane czasy przetwarzania są rzędu mikrosekund (w przypadku stosowania kluczy półprzewodnikowych).


(…)

… są rzędu mikrosekund (w przypadku stosowania kluczy półprzewodnikowych).
Zasada działania silników prądu stałego.
Silniki prądu stałego korzystają z momentu obrotowego działającego na ramkę, który może być wykorzystany do przekształcenia energii elektrycznej w energię mechaniczną. W polu wytworzonym przez stojan jest umieszczony przewód w postaci ramki, zasilany prądem przez komutator składający się z dwóch szczotek, które ślizgają się po odizolowanych od siebie wycinkach pierścieni połączonych z obydwoma ramionami ramki. Pole magnetyczne stojana (zgodnie z regułą lewej ręki) powoduje odpychanie ramki, przez którą wówczas płynie prąd. W miarę zwiększania się kąta wychylenia wartość momentu obrotowego maleje i w położeniu pionowym staje się równa zeru. Jednakże w tym położeniu ramka ma już określoną…
….
UA - napięcie anody IB - prąd bazy
W stanie przewodzenia (zwarcia) , spadek napięcia na tyrystorze jest bardzo mały i zależy od wielkości tyrystora. W przypadku dużych tyrystorów wynosi on około 1 V przy prądzie przewodzenia np. 1000 A.W stanie rozwarcia , zarówno przy polary­zacji wstecznej (minus na anodzie) , jak i przepustowej (plus na anodzie) przez ty­rystor przepływa prąd upływu…
... zobacz całą notatkę



Komentarze użytkowników (0)

Zaloguj się, aby dodać komentarz