Badania charakterystyki filtru LC

Nasza ocena:

5
Wyświetleń: 518
Komentarze: 0
Notatek.pl

Pobierz ten dokument za darmo

Podgląd dokumentu
Badania  charakterystyki filtru  LC - strona 1 Badania  charakterystyki filtru  LC - strona 2

Fragment notatki:

BADANIE CHARAKTERYSTYKI FILTRU LC. 1.Wstęp teoretyczny.
Celem ćwiczenia jest poznanie sposobu otrzymywania źródła napięcia stałego o dużej obciążalności prądowej sterowanego za pomocą komputera.
Organizacja układu scalonego 8255. Układ scalony 8255 jest elementem o dużym stopniu integracji. Ma on bardzo ważną cechę niespotykaną w wielu elementach typu 82xx - programowalność. Programowalność układu scalonego 8255 oznacza, że jego przeznaczenie w pewnym zakresie może być określone przez konstruktora na drodze wprowadzania do rejestru sterującego elementu 8255 odpowiedniego słowa sterującego. Rozwiązanie takie daje korzyści wynikające z dopasowaniem elementu do potrzeb konkretnych użytkowników. Układ scalony 8255 ma od strony elementów zewnętrznych 24 końcówki wejścia-wyjścia, przyporządkowane trzem 8-bitowym bramom oznaczonym literami A, B, C. Brama C jest podzielona na część bardziej znaczącą, przyporządkowaną grupie A, w której znajduje się również brama A, oraz część mniej znaczącą, przyporządkowaną grupie B, w której znajduje się również brama B. Każda z wymienionych bram może mieć różne właściwości . Zmiany właściwości dokonuje się za pomocą programowania, tzn. na drodze wprowadzenia odpowiedniego słowa sterującego do rejestru sterującego. Od strony mikroprocesora układ scalony 8255 ma 8 końcówek dwukierunkowej, buforowanej, trójstanowej magistrali danych. Wymiana danych między mikroprocesorem a wymienionym buforem odbywa się albo na drodze realizacji rozkazów wejścia-wyjścia IN lub OUT , albo na drodze realizacji czytania pamięci i pisania do pamięci. Wówczas przyporządkowuje się elementowi 8255 cztery komórki przestrzeni adresowej: trzy dla bram A, B, C, czwartą dla rejestru sterującego.
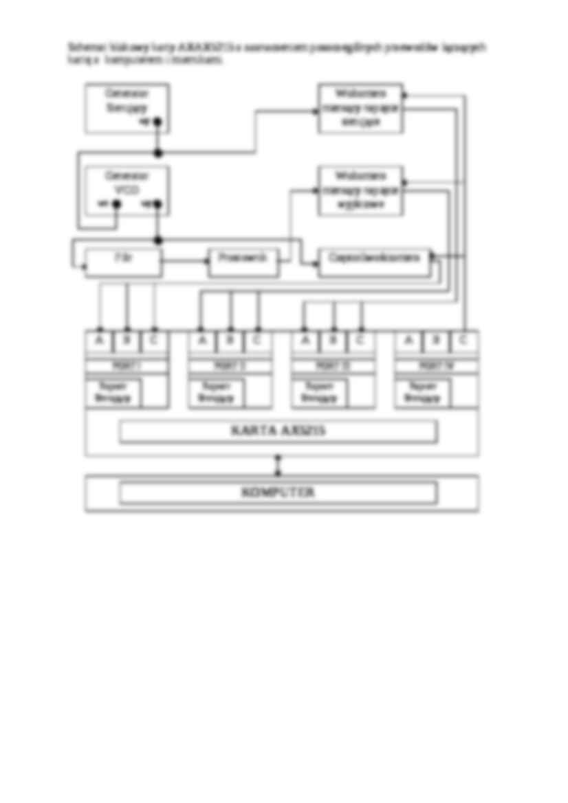
Schemat blokowy karty AXAX5215 z zaznaczeniem poszczególnych przewodów łączących kartę z komputerem i miernikami. Rejestr
We-Wy
A
Bufor
magistrali
danych
Rejestr
We-Wy
C
Rejestr
We-Wy
B
Rejestr
sterujący
PA7
PA6
PA0
PC7
PC6
PC0
PB7
PB6
... zobacz całą notatkę



Komentarze użytkowników (0)

Zaloguj się, aby dodać komentarz