Silnik bocznikowy straty-opracowanie

Nasza ocena:

3
Pobrań: 28
Wyświetleń: 770
Komentarze: 0
Notatek.pl

Pobierz ten dokument za darmo

Podgląd dokumentu
Silnik bocznikowy straty-opracowanie - strona 1 Silnik bocznikowy straty-opracowanie - strona 2 Silnik bocznikowy straty-opracowanie - strona 3

Fragment notatki:

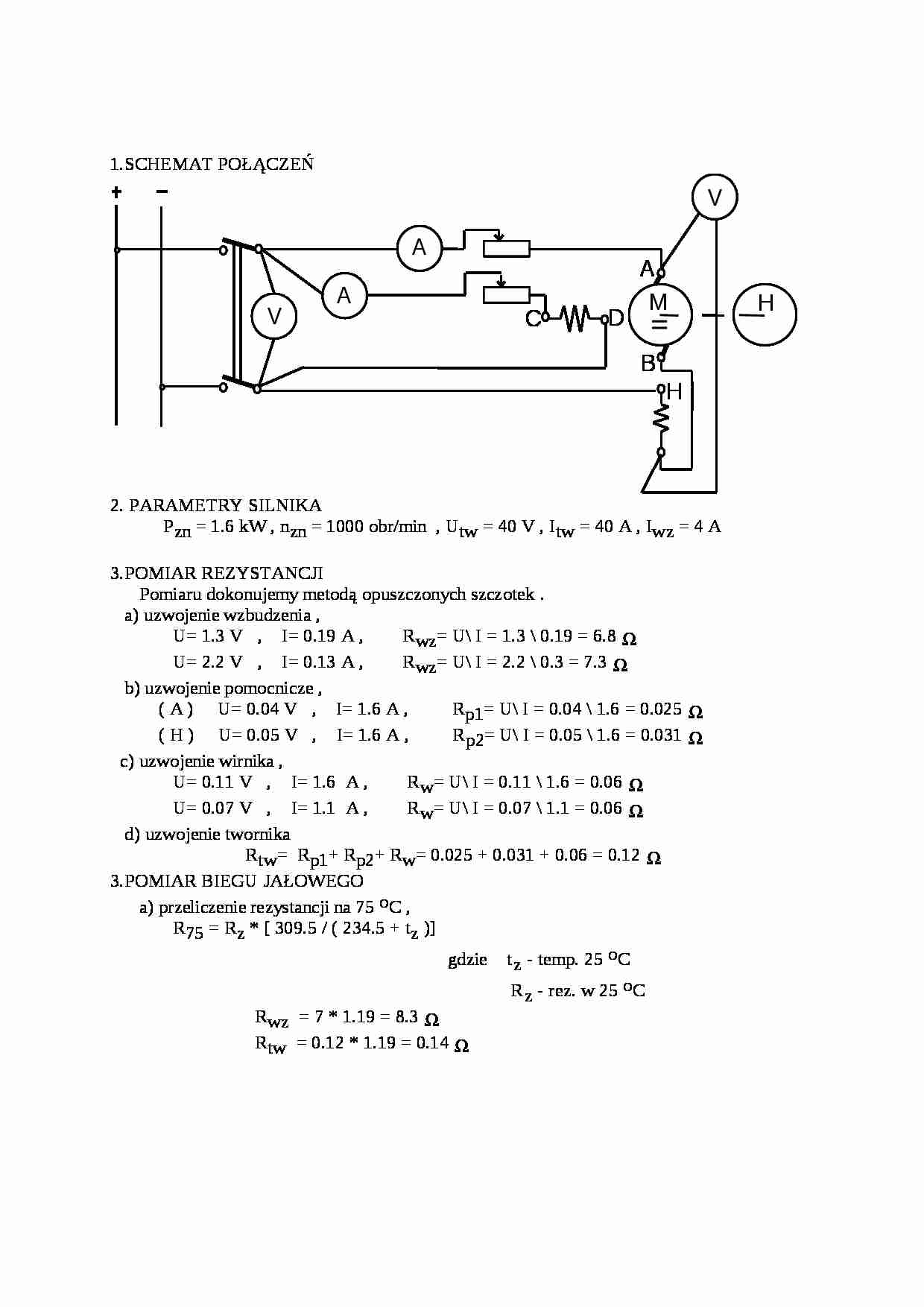
1.SCHEMAT POŁĄCZEŃ 2. PARAMETRY SILNIKA Pzn = 1.6 kW , nzn = 1000 obr/min , Utw = 40 V , Itw = 40 A , Iwz = 4 A
3.POMIAR REZYSTANCJI Pomiaru dokonujemy metodą opuszczonych szczotek . a) uzwojenie wzbudzenia ,
U= 1.3 V , I= 0.19 A , Rwz= U\ I = 1.3 \ 0.19 = 6.8 U= 2.2 V , I= 0.13 A , Rwz= U\ I = 2.2 \ 0.3 = 7.3 b) uzwojenie pomocnicze ,
( A ) U= 0.04 V , I= 1.6 A , Rp1= U\ I = 0.04 \ 1.6 = 0.025 ( H ) U= 0.05 V , I= 1.6 A , Rp2= U\ I = 0.05 \ 1.6 = 0.031 c) uzwojenie wirnika ,
U= 0.11 V , I= 1.6 A , Rw= U\ I = 0.11 \ 1.6 = 0.06 U= 0.07 V , I= 1.1 A , Rw= U\ I = 0.07 \ 1.1 = 0.06 d) uzwojenie twornika
Rtw= Rp1+ Rp2+ Rw= 0.025 + 0.031 + 0.06 = 0.12 3.POMIAR BIEGU JAŁOWEGO
a) przeliczenie rezystancji na 75 oC , R75 = Rz * [ 309.5 / ( 234.5 + tz )]
gdzie tz - temp. 25 oC Rz - rez. w 25 oC Rwz = 7 * 1.19 = 8.3 Rtw = 0.12 * 1.19 = 0.14 b) tabela pomiarowa , Uo Itwo
Iwzo n
Po'
Pt
Usz' Psz
Pj
[V] [A]
[A]
[o/m]
[W]
[W]
[V] [W]
[W]
50
1.5
2.7
1200
75
0.31
0.3
0.45
74.2
46
1.5
2.4
1200
69
0.31
0.3
0.45
68.2
41
1.6
2.1
1200
65.6
0.35
0.32
0.51
64.7
35
1.8
1.7
1200
63
0.45
0.36
0.64
61.8
30
1.9
1.5
1200
57
0.50


(…)

… , a natomiast wzbudzenia Rwz = 8.3 . Jest to uzasadnione , ponieważ przez twornik przepływa prąd dziesięciokrotnie większy niż prąd w uzwojeniu wzbudzenia . Na podstawie pomiarów biegu jałowego wyznaczyliśmy charakterystykę Pj = f ( Uo2 ) , na podstawie której wyznaczyliśmy wartości strat mechanicznych i w żelazie . Dla prędkości znamionowej moc mechaniczna była ponad dwukrotnie większa od strat w żelazie . Na podstawie tej charakterystyki skonstruowaliśmy wykres Pm = f ( n ) , która potwierdziła zależności pomiędzy stratami mechanicznymi , a prędkością obrotową silnika . Z charakterystyki Uo = f ( Iwz ) otrzymaliśmy wartość prądu Iwzo dla UN , dzięki której otrzymaliśmy straty wzudzenia . Ciekawą jest charakterystyka Pj , Po = f ( Uo ) , z której widać różnicę pomiędzy mocą pobieraną w stanie jałowym , a stratami jałowymi…
… ( H ) U= 0.05 V , I= 1.6 A , Rp2= U\ I = 0.05 \ 1.6 = 0.031 c) uzwojenie wirnika ,
U= 0.11 V , I= 1.6 A , Rw= U\ I = 0.11 \ 1.6 = 0.06 U= 0.07 V , I= 1.1 A , Rw= U\ I = 0.07 \ 1.1 = 0.06 d) uzwojenie twornika
Rtw= Rp1+ Rp2+ Rw= 0.025 + 0.031 + 0.06 = 0.12 3.POMIAR BIEGU JAŁOWEGO
a) przeliczenie rezystancji na 75 oC , R75 = Rz * [ 309.5 / ( 234.5 + tz )]
gdzie tz - temp. 25 oC Rz - rez. w 25 oC Rwz…
... zobacz całą notatkę



Komentarze użytkowników (0)

Zaloguj się, aby dodać komentarz