Wycena przedsiębiorstwa i zarządzanie wartością

note /search

Benchmarking - Konkurencja

  • Uniwersytet Gdański
  • Wycena przedsiębiorstwa i zarządzanie wartością
Pobrań: 49
Wyświetleń: 1169

BENCHMARKING porównywanie osiągnięć z innymi komórkami organizacyjnymi, konkurencją lub liderami rynkowymi, ustawienie punktu odniesienia swoich osiągnięć identyfikacja wzorców, które można zastosować w przedsiębiorstwie lub problemów, których należy unikać benchmarking może obejmować generatory...

Kapitał i koszty kapitału

  • Uniwersytet Gdański
  • Wycena przedsiębiorstwa i zarządzanie wartością
Pobrań: 189
Wyświetleń: 1176

KAPITAŁ I KOSZT KAPITAŁU kapitał ma zdolność do wzrostu, czyli do pomnażania wartości. kapitał nie jest dobrem darmowym, podobnie jak inne czynniki produkcji ma swój koszt definicja kosztu kapitału stopa zwrotu, którą musi uzyskać firma ze swoich inwestycji, aby zachowana została wartość rynkowa...

Mierniki zarządzania wartościa

  • Uniwersytet Gdański
  • Wycena przedsiębiorstwa i zarządzanie wartością
Pobrań: 217
Wyświetleń: 1960

MIERNIKI ZARZĄDZANIA WARTOŚCIĄ Mierniki zarządzania wartością: przepływy pieniężne FCF CFPS CFROI dodana wartość dla akcjonariuszy EVA MVA SVA całkowity zwrot dla akcjonariuszy TSR. FCF (Free Cash Flow) - wolne przepływy pieniężne dostępne dla akcjonariuszy + zysk operacyjny przed odsetka...

Pomiar wartości dla akcjonariuszy

  • Uniwersytet Gdański
  • Wycena przedsiębiorstwa i zarządzanie wartością
Pobrań: 154
Wyświetleń: 952

POMIAR WARTOŚCI DLA AKCJONARIUSZY determinanty (generatory) wartości mierniki zarządzania wartością kapitał i koszt kapitału Sieć wartości dla akcjonariuszy. Zarządzanie to podejmowanie decyzji !!! SIEĆ WARTOŚCI DLA AKCJONARIUSZY (decyzje oddziałują na generatory wartości) Siła wpływu generato...

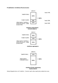
Sposoby pomiaru wartości-wycena majątkowa

  • Uniwersytet Gdański
  • Wycena przedsiębiorstwa i zarządzanie wartością
Pobrań: 196
Wyświetleń: 1113

SPOSOBY POMIARU WARTOŚCI WYCENA MAJĄTKOWA WYCENA KSIĘGOWA wartość firmy = aktywa - zobowiązania metoda praktycznie nieprzydatna: inflacja, szybki postęp techniczny, brak odzwierciedlenia kapitału organizacyjnego (model biznesowy, marka...

Wdrożenie systemu zarządzania wartością

  • Uniwersytet Gdański
  • Wycena przedsiębiorstwa i zarządzanie wartością
Pobrań: 147
Wyświetleń: 1148

WDROŻENIE SYTEMU ZARZĄDZANIA WARTOŚCIĄ Na czym polega zarządzanie ukierunkowane na podnoszenie wartości??? Jest to ciągły proces analizy, działań i komunikowania, który prowadzi do tworzenia wartości firmy. ETAPY WDRAŻANIA VBM Pomiar wartości dla akcjonariuszy. Identyfikacja obszarów odpowiedzia...

Wycena przedsiębiorstwa

  • Uniwersytet Gdański
  • Wycena przedsiębiorstwa i zarządzanie wartością
Pobrań: 322
Wyświetleń: 1568

WYCENA PRZEDSIĘBIORSTWA Kiedy dokonuje się wyceny? transakcja kupna-sprzedaży przedsiębiorstwa restrukturyzacja organizacyjna firmy (wydzielenie spółki, fuzje) restrukturyzacja finansowa firmy (podwyższenie kapitału, ustalenie ceny emisyjnej

Zarzuty wobec zarządzania wartością

  • Uniwersytet Gdański
  • Wycena przedsiębiorstwa i zarządzanie wartością
Pobrań: 42
Wyświetleń: 679

ZARZUTY WOBEC ZARZĄDZANIA WARTOŚCIĄ skłania zarząd do koncentracji na krótkoterminowych wynikach finansowych (kwartał, rok), firmy realizujące tę koncepcję zarządzania nadmiernie uprzywilejowują akcjonariuszy kosztem innych grup interesu, w skrajnych przypadkach „prywatyzuje się zyski i uspołeczn...

Wycena przedsiębiorstwa

  • Wycena przedsiębiorstwa i zarządzanie wartością
Pobrań: 161
Wyświetleń: 700

Wycena przedsiębiorstwa W teorii ekonomii możemy mówić o różnych aspektach wartości m.in.: Wartość wymierna - związana z rynkiem i transakcjami wymiennymi nie musi być w pieniądzu - może być w innym towarze, obecnie zbliżone do pojęcia do ceny: wartość ta zależy od rzadkości występowania dobra na ...