Schemat procesu produkcji - wykład

Nasza ocena:

3
Pobrań: 91
Wyświetleń: 574
Komentarze: 0
Notatek.pl

Pobierz ten dokument za darmo

Podgląd dokumentu
Schemat procesu produkcji - wykład - strona 1

Fragment notatki:

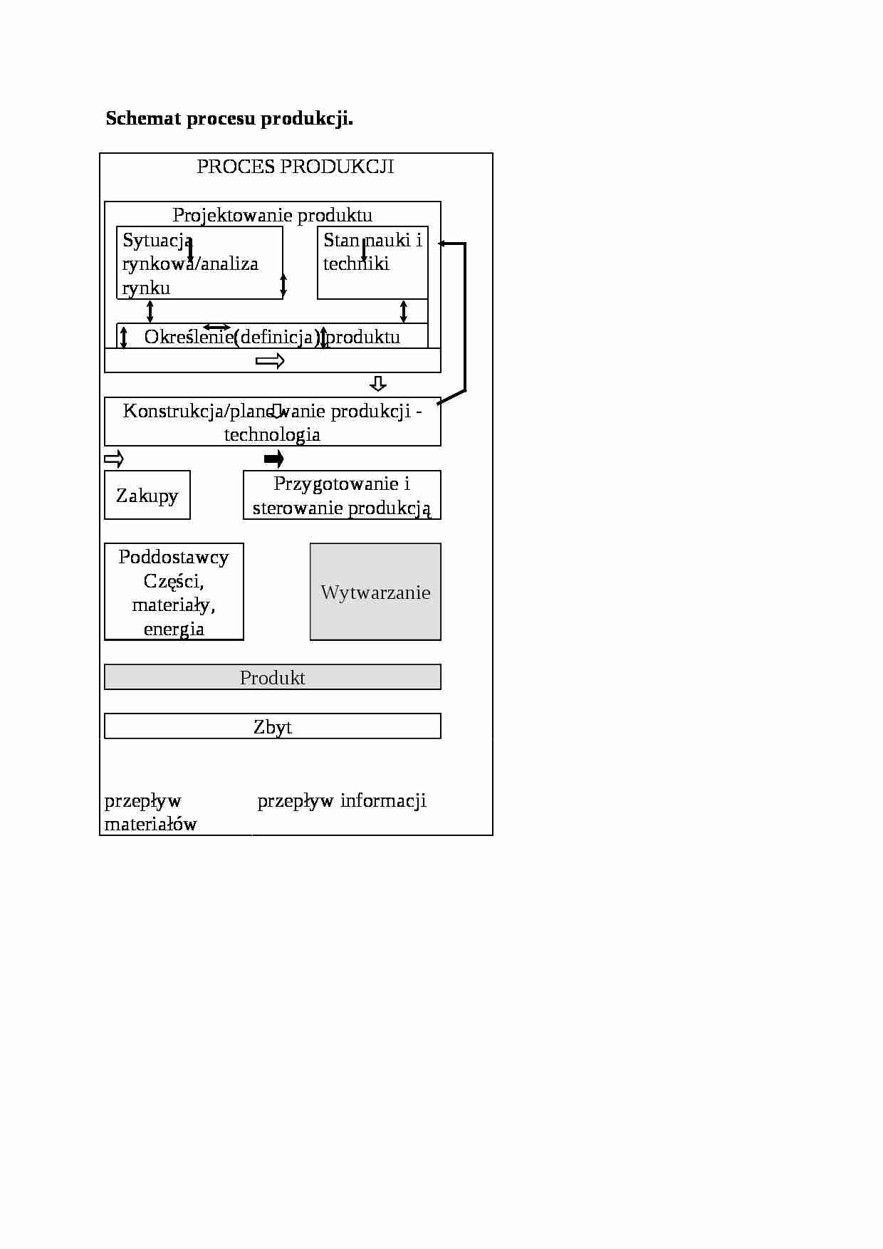
Schemat procesu produkcji.
PROCES PRODUKCJI
Projektowanie produktu
Sytuacja rynkowa/analiza rynku
Stan nauki i techniki
Określenie(definicja) produktu
Konstrukcja/planowanie produkcji - technologia
Zakupy
Przygotowanie i sterowanie produkcją
Poddostawcy
Części, materiały, energia
Wytwarzanie
Produkt
Zbyt
przepływ materiałów
przepływ informacji
... zobacz całą notatkę



Komentarze użytkowników (0)

Zaloguj się, aby dodać komentarz