Symulacja układów elektronicznych

note /search

Linia długa, transformator, rdzeń magnetyczny, klucze

  • Akademia Górniczo-Hutnicza im. Stanisława Staszica w Krakowie
  • Symulacja układów elektronicznych
Pobrań: 7
Wyświetleń: 1764

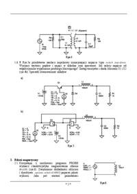
    * 1 *  SYMULACJA UKŁADÓW ELEKTRONICZNYCH    ćwiczenie 5 - Linia długa, transformator, rdzeń  magnetyczny, klucze      Punkty  opatrzone symbolem    należy traktować jako  dodatkowe i można je  wykonać po zakończeniu  punktów podstawowych.       1. Transformator  1.1. Wyznacz impedancje widzia...

Efekt Millera w układach transkonduktancyjnych

  • Akademia Górniczo-Hutnicza im. Stanisława Staszica w Krakowie
  • Symulacja układów elektronicznych
Pobrań: 7
Wyświetleń: 1561

    SYMULACJA UKŁADÓW ELEKTRONICZNYCH    ćwiczenie 3 - efekt Millera            1) Napięciowy efekt Millera    V 1 k u R C V 2 i 1 i 2 i   rysunek 1                      rysunek 2      a)  Na rysunku 1 dany jest układ z napięciowym sprzężeniem Millera. Na gruncie obliczeń  symbolicznych podać zależ...